News
BOSS-Multi Axis Motor Controller
Redler Technologies is herby to announce, about new product. The BOSS. This Multi Axis Controller is the best MIL STD approved Embedded environment enables full management module combined with 2-12 motion control DOF (Degree of Freedom) with the following charachters:
- Variety of Sensors (Discrete, SPI, Serials and many others)
- Safety Signals and Sensors
- Logical Algorithms includes Cross Axis Phenomena
- Independent Controller
- Communicate with PC or Main Systems via TCP/IP and other communication links
The BOSS - Multi Axis Motor Controller
There are many application of full MIL STD safety, multi axis motion control, such as needed for RCWS remote control weapon systems, rotating pedestals, gimbaled sensors, robotic and remote platforms.
Main Features:
- Multi-processing solution
- From 2 to 8 motors controller driver
- Motor types: BLDC,PMSM or DC
- Any combination between BLDC and DC motors available
- Two encoders interface per motor (Axis)
- High processing power DSP per motor
- 2.5kHz current bandwidth. (20 KHz PWM)
- Three control loops per motor. (Current, speed, position)
- Ethernet LAN, CANBUS, USB2, RS232/422/485
- On board file system-data logger
- Tree control scheme ARM Cortex M4 and n DSPs
- Low power consumption. (Suitable for lithium batteries)
- Enhance safety control mechanism
- Comply with MIL-STD 1275-704A
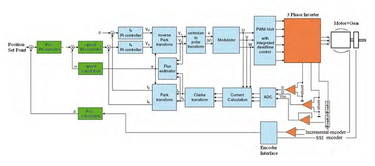
Figure 1. BOSS DSP section simplified space vector The Heart of Motion
BOSS Applications
- Robotics
- Automotive
- Avionics
- Antenna direction
- Industrial controllers
- Smart Ammunition
- Guided projectile
Figure 2. BOSS block diagram
